Gia công nâng cao_Bài 3: Cơ sở lý thuyết cắt bằng LASER

CHƯƠNG 4     CƠ SỞ LÝ THUYẾT CẮT BẰNG LASER
4.1      SƠ LƯỢC VỀ QUÁ TRÌNH CẮT BẴNG LASER
Ý tưởng về sử dụng nguồn năng lượng ánh sáng để cắt kim loại xuất hiên ngay khi dùng tia sáng mặt tròi để nhen lửa hay đốt giấy. Từ đó nghiên cứu các thiết bị laser như bị cuốn hút bởi sự hấp dẫn của nó. Hiên nay cắt bằng laser đã trở thành thông dụng ở một số nước. Ở Nhật gần 80 % nguồn laser sử dụng cho cắt các loại vật liêu trong công nghiệp.
Trong thực tế có nhiều phương pháp cắt như : cắt bằng cơ khí, cắt bằng siêu âm, cắt bằng hồ quang plasma, cắt bằng tia nước áp suất cao, …
Trong những năm gần đây người ta đã bắt đầu sử dụng laser để cắt tất cả các vật liệu với bất kỳ độ cứng nào.
4.1.1       – Lịch sử phát triển các giai đoạn của các phương pháp cắt .
hop-kim-kho-gia-cong45
1 – Nước        2 – laser 3 – Plasma 4 – Oxy_axêtylen
Hình 4.1 Lịch sử phát triển các phương pháp cắt [12],
A – Những phát minh ra cơ sở nguyên lý gia công;
B – Phác thảo công nghệ;
C – Khuynh hướng công nghệ của những máy đầu tiên trong công nghiệp;
D – Quá trình ứng dụng và phát triển trong công nghiệp;
E – Giai đoạn tối ưu hoá quá trình ;
F – Giai đoạn chính muồi cho tương lai trong công nghiệp
4.1.1        Bảng so sánh các đặc tính của các phương pháp cắt và phạm vi ứng dụng
(xem bảng 4-1)
hop-kim-kho-gia-cong46
4.2 PHÂN LOẠI CÁC PHƯƠNG PHÁP CẮT BẴNG LASER
hop-kim-kho-gia-cong47
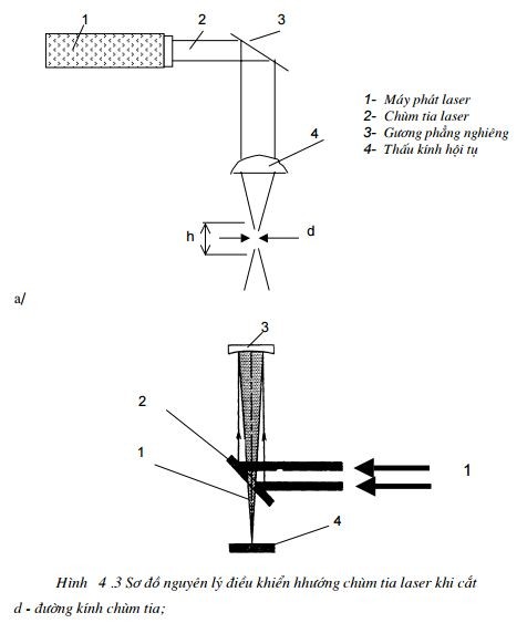
4.3    SƠ ĐỒ NGUYÊN LÝ CẮT BẰNG CHÙM TIA LASER
hop-kim-kho-gia-cong48
hop-kim-kho-gia-cong49
Hình 4.4 Sơ đồ quá trình cắt bằng laser CNC [13] P 72
1 – Nguồn laser;                           2 – Thiết bi bắn chùm tia  laser;
3 – Nước làm mát                          4 – Máy đo nhiệt lượng;
5 – Gương dẫn hướng;                   6 – Thấu kính hội tụ
7 – Khí cắt                                      8 – Đầu cắt;
9 – Vật cắt;                                     10- Bàn điều khiển (X,Y);
11 – Mô tơ                                         12- Máy điều khiển CNC
hop-kim-kho-gia-cong50
 
Hình 4.5      Hình dáng bên ngoài của 1 máy cắt bằng laser
hop-kim-kho-gia-cong51
4.4       ĐẶC ĐIỂM CỦA QUÁ TRÌNH CẮT BẰNG LASER
Cắt bằng laser có nhiều ưu điểm đối vói vật liệu có chiều dày nhỏ. Ở Nhật gần 80% các phần việc của laser là cắt. Có thể cắt vật liêu phi kim loại và vật liêu kim loại.
Ưu điểm của cắt bằng laser :

  1. Chùm tia laser có nguồn nhiệt tập trung vói mật độ nhiệt cao. Vì thế nó có thể cắt tất cả các loại vật liệu và hợp kim của nó.
  2. Rãnh cắt hẹp; sắc cạnh; độ chính xác cao;
  3. Có thể cắt theo đường thẳng hay đường cong bất kỳ;
  4. Mép cắt sạch đẹp, không cần các bưóc gia công phụ thêm;
  5. Quá trình cắt xảy ra nhanh chống;
  6. Đây là quá trình cắt không tiếp xúc; nó có thể cắt theo các hướng khác nhau.
  7. Có thể cắt vật liệu có từ tính và không từ tính.
  8. Khi cắt, không có các tác dụng cơ học nên tồn tại rất ít ảnh hưởng của biến dạng trong quá trình cắt và sau khi cắt. Vùng ảnh hưởng nhiệt nhỏ, biến dạng nhiệt ít;
  9. Có năng suất cao; có thể tăng năng suất khi sử dụng các máy có điều khiển bằng chương trình NC, CNC.
  10. Có thể cơ khí hoá và tự động hoá điều khiển quá trình cắt; Cắt vật liệu phi kim loại chiếm tỷ lệ khoảng 70 % (ví dụ : như cắt vật liệu ceramic, kính, vật liệu compôzit đặc biệt là vải và các loại giấy) ; phần còn lại khoảng 30% là cắt kim loại. Thời gian gia công bằng chùm tia laser khi tự động hoá có thể giảm từ 8 giờ xuống còn 4 phút.
  11. Không gây ồn; điều kiện lao động tốt. Ngoài ra điều kiện làm việc của công nhân được cải thiện rất nhiều do lượng bụi ít hơn so vói các phương pháp gia công cơ khí.
  12. Chiều dày cắt hạn chế trong khoảng 10 – 20 mm (phụ thuộc vào công suất của nguồn laser).

 
4.5       ĐẶC TÍNH CỦA THIẾT BỊ CẮT BANG LASER

  • Đặc tính thuộc thiết bị bao gồm : loại máy phát, kích thước của máy, loại nguồn, dạng xung hay liên tục, độ dài bước sóng, phân cực, dạng chùm tia, vị trí đầu cắt,.
  • Đặc tính về dịch chuyển : Tốc độ dịch chuyển. điều khiển vị trí tiêu điểm của chùm tia;
  • Đặc tính của khí cắt: thành phần khí hổ trợ, cắt có khí nung hay không,..;
  • Đặc tính vật liêu : Tính truyền dẫn nhiệt, đặc tính quang học (hấp thụ bức xạ, khả năng phản xạ…)

4.6       CÁC PHƯƠNG PHÁP CẮT BẰNG LASER.
Để tiến hành cắt có thể tiến hành theo 6 phuơng pháp cắt sau đây [7]:
1                   – Phương pháp đột biến về nhiệt (Năng lượng tương đương (NLTĐ) – 1 lần)
2       – Cắt bằng “khoan”                                                ( NLTĐ là 1 lần)
3       – Phương pháp nóng chảy, đốt cháy và thổi ;(NLTĐ gấp 10 lần)
4       – Phương pháp nóng chảy và thổi;                        ( NLTĐ gấp 20 lần)
5       – Phương pháp bay hơi;                             ( NLTĐ gấp 40 lần)
6       – ”Cắt nguội ” Dùng laser năng lượng siêu cao để cắt.
(NLTĐ gấp 100 lần )
4.6.1       Phương pháp đột biến về nhiệt
Đây là phương pháp lợi dụng sự tập trung nhiệt đột ngột tại một điểm rất nhỏ trên bề mặt vật cắt và liên tục phát triển với tốc độ cao (cở m/s), gây neensuwj gây đột biến và tạo nên rãnh cắt. Phương pháp này thường dùng khi cắt vật liệu dòn.
hop-kim-kho-gia-cong78
Hình 4-8
4.6.2        Phương pháp cắt bằng “khoan”

Cơ sở của phương pháp này là dùng tia laser khoan các lổ sâu hoặc không sâu, sau đó bẻ gẫy bằng cơ học. Phương pháp này thường dùng khi cắt vật liêu dòn.
hop-kim-kho-gia-cong55
Hình 4-9 Sơ đồ nguyên lý phương pháp khoan cắt bằng laser
4.6.3        Phương pháp nóng chảy, đốt cháy và thổi
Làm cho vật liêu nóng chảy, cháy sau đó thổi các sản phẩm cháy đi ,tạo nên rãnh cắt. Trong quá trình nóng chảy đổng thời xảy ra phản ứng cháy cung cấp nhiệt bổ sung nên năng lương tương đương tăng lên rất nhiều (10 lần) so vói khoan cắt
4.6.4        Phương pháp nóng chảy và thổi
Nung nóng chảy vùng bị cắt và dùng khí áp suất cao thổi chung ra khỏi vùng cắt và tạo nên rãnh cắt.
4.6.5        Phương pháp bay hơi.
hop-kim-kho-gia-cong56
4.6.6        Phương pháp “ cắt nguội “.
Dùng laser có dãi tần số vùng cực tím có năng lượng siêu cao để cắt. Phương pháp này dùng để cắt vật liệu platic, vi phẫu thuật. Chất lượng mép cắt rất cao.
hop-kim-kho-gia-cong57
Hình 4-11 Cắt bằng năng lượng tập trung cao
4.4        CÁC QUÁ TRÌNH XẢY RA KHI CẮT VẬT LIỆU
4.7.1    Sự phân bố và truyền nhiệt khi gia công cắt
Nhiệm vụ nghiên cứu chính khi kim loại chịu tác dụng của nguồn bức xạ : * Nghiên cứu không gian và thời gian các đặc tính truyền dẫn nhiệt.
*      Bài toán truyền dẫn nhiệt.
*      Các bài toán về điều kiện biên;
Đặc trưng cho sự bức xạ của laser là độ đơn sắc và được đặc trưng bởi tỷ số:
hop-kim-kho-gia-cong58
hop-kim-kho-gia-cong59
Năng lượng bức xạ trong chất rắn và chất lỏng ở chế độ tổng hợp tự do <= 103 Jun . Năng lượng bức xạ của laser xung có thể đạt từ vài trăm KW (ở chế độ tập hợp tự do ) cho đến hàng triệu kw tại các “pic” trung bình và năng lượng các “pic” riêng rẻ.
Sự truyền nhiệt cho vật liêu gia công.
Nguồn nhiệt bức xạ tác dụng lên bề mặt gia công, một phần bị phản xạ, một phần đi sâu vào trong vật liệu và bị chúng hấp thụ. Trong khoảng thòi gian nhất định sẽ xảy ra quá trình phân bố nhiệt .
Quy luật phân bố trong thể tích kim loại đó thực tế có thể biểu diễn bằng định luật BUGER [8]:
qv(z) = qvo ( 1-R)e -az
qv(z) – Mật độ công suất khối của bức xạ ở khoảng cách z               W/cm3.
qvo     – Mật độ công suất khối của bức xạ trên bề mặt;
(1- R) – Khả năng hấp thụ; R – hệ số phản xạ chùm tia;
hop-kim-kho-gia-cong79  – Hệ số hấp thụ ánh sáng (1/cm);
Quá trình hấp thụ ánh sáng và truyền nhiệt bức xạ trong các vật liệu khác nhau ( kim loại , bán dân, chất cách điện) sẽ khác nhau.
Quá trình hấp thụ các kvan( photon) ánh sáng xảy ra khi hấp thụ hay phát photon hay do sự va chạm giữa chúng.
Hấp thụ ánh sáng sẽ làm tăng năng lượng các điện tử. Một phần năng lượng của electron sẽ truyền cho mạng . Tuy thế năng lượng này không đáng kể vì các mạng ít hơn rất nhiều so vói số lượng lớn các ion và điện tử.
Quá trình hấp thụ nhiệt của kim loại từ vùng vệt nung đến vùng kim loại bên trong xảy ra do truyền nhiệt bởi điện tử, photon, và bức xạ.
Trong vùng gia công, nhiệt độ lên đến vài nghìn độ – đó là truyền dẫn nhiệt điện tử.
Truyền nhiệt – phonton xảy ra ở vùng nhiệt độ thấp; vai trò của nó rất nhỏ so vói truyền nhiệt điện tử.
Truyền nhiệt bằng bức xạ chiếm vai trò quan trọng khi T0 >= 104 oK
Cơ sở của quá trình gia công laser là khả năng bức xạ của laser để tạo nên trên một bề mặt nhỏ có mật độ nguồn nhiệt rất cao đủ để nung nóng kim loại, hay làm nóng chảy hay bay hơi bất kể một loại vật liệu nào.
Nguồn nhiệt laser chiếu lên bề mặt kim loại có :
+ một phần phản xạ trở lại;
+ một phần đuợc vật liệu hấp thụ vào sâu trong vật gia công.
Phần nhiệt đi sâu vào trong vật liệu hầu nhu bị các điện tử tự do ở lóp trên cùng của bề mặt ( độ sâu khoảng 0,1 – 1  hop-kim-kho-gia-cong54 ) hấp thụ. Chính điều đó làm tăng nguồn năng lượng cho các điện tử và chúng sẽ bị va chạm mãnh liệt hơn.
Thời gian ban đầu mà các điện tử hấp thụ năng lượng và làm tăng các va chạm chiếm khoảng 10-11 giây.
Phần lớn nguồn nhiệt laser truyền vào sâu trong kim loại bằng sự truyền nhiệt electrôn ( truyền nhiệt điện tử )
Sự truyền nhiệt bức xạ lên vật liêu gia công
Khả năng hấp thụ năng lượng được thể hiện bằng công thức [8] hop-kim-kho-gia-cong60
hop-kim-kho-gia-cong61
Nhận xét:
* Mức độ hấp thụ thay đổi khi bề mặt có gia công tẩm thực hoặc có sự thay đổi về thành phần hoá học …
–      Vói độ nhấp nhô tăng từ Rz = 34 —> 120 pm thì hệ số hấp thụ tăng lên
Thép không gỉ            : 1,2 – 1,5 lần
Sắt kỹ thuật               : 2,5 – 2,8 lần
–       Bề mặt có sơn phủ vật liêu hấp thụ đặc biệt hay bột kim loại thì hệ số hấp thụ cũng tăng từ : 2,0 – 2,5 lần.
Mức độ phản xạ của nguồn nhiệt laser từ bề mặt vật rắn khi gia công được xác định bằng hệ số phản xạ.
Hệ số phản xạ phụ thuộc :
+ Loại vật liệu;
+ Chiều dài bưóc sóng bức xạ của laser;
hop-kim-kho-gia-cong62
hop-kim-kho-gia-cong63
Hình 4-12      Sơ đồ phân bố năng lượng khi gia công kim loại
1       – Chùm tia laser;
2       – Vật liệu kim loại;
3       – Vùng bị chùm tia tác động và tạo nên lỗ;
4         – Kim loại nóng chảy;
5         – Chùm tia PLASMA phản xạ khi gia công;
Q1       – năng lượng chùm tia LASER;
Qpx     – Năng lượng phản xạ;
Qpxkk  – Năng lượng phản xạ vào không khí;
Qbt      – Năng lượng mất mát do kim loại bắn toé;
Qts      – Năng lượng truyền vào sâu kim loại;
Qr       – Năng lượng tiêu tốn trên bề mặt rãnh sâu trong kim loại;
Nếu mật độ nhiệt vượt quá giá trị tói hạn thì vật liêu sẽ xảy ra quá trình phá huỷ bề mặt.
Khái niêm phá huỷ bề mặt là khái niêm để hiểu có tính tương đối. Bởi vì mọi tác dụng của nguồn nhiệt lên kim loại sẽ gây các quá trình vật lý, liên quan vói quá trình khuyếch tán , hay sự kết hợp làm cho cấu trúc bị biến đổi.
Phá huỷ kim loại vói sự di chuyển một phần thể tích kim loại do sự bốc hơi . Phá huỷ bề mặt kim loại vùng cắt để có thể tạo nên những vết lõm, lỗ do pha kim loại nóng chảy bị chèn đảy dưói áp lực của hơi kim loại hay các tác dụng khác. Đối vói kim loại dòn , dưói các tác dụng trên có thể tạo nên những vết nứt (P 242 -G )
Mô hình các quá trình hình thành các vết lõm hay tạo lỗ có thể thể hiện như sau :
Theo Lý thuyết phá huỷ nhiệt
Các nghiên cứu về sự phá huỷ kim loại được đề cập đối vói khoảng mật độ nhiệt 106 – 109 W/cm2 .
Theo các lý thuyết về phá huỷ bề mặt kim loại và di chuyển các lóp kim loại đều do sự bay hơi bề mặt.
Vận tốc lớp bay hơi [8] :
hop-kim-kho-gia-cong64
Lý thuyết khí động học bay hơi [8]
Theo lý thuyết này thì quá trình phá huỷ vật liệu xảy ra nhờ hệ thống các phương trình khí động học đối vói mật độ dòng vượt quá giá trị tói hạn bốc hơi. ( Mật độ nguồn nhiệt phải lón hơn qo >= 106 w/cm2 .
Thuyết bay hơi khối [8]
Sơ đổ phụ thuộc thòi gian tổn tại mầm bọt khí trong kim loại lỏng và mật độ nguồn nhiệt
hop-kim-kho-gia-cong65
hop-kim-kho-gia-cong66
Hình 4-14 Sự phụ thuộc giữa bán kính mầm bọt khí và mật độ nhiệt khi gia công Cu) [8] hop-kim-kho-gia-cong67
Tăng mật độ công suất nhiệt và làm giảm thòi gian xung làm giảm lóp kim loại lỏng có thể đạt trạng thái bốc hơi.
Trên đổ thị trên có thể thấy mật độ nhiệt vào khoảng 108 w/cm2 .và thòi gian sẽ vào khoảng 10-7 sec.
Tăng nhiệt độ quá nhiệt lóp kim loại lỏng sẽ làm tăng không chỉ sự phát triển mầm bọt khí và có thể làm bắn toé lóp chất lỏng một cách mảnh liệt mà còn làm tăng những xung áp lực ứng vói các pik của các xung bức xạ.
hop-kim-kho-gia-cong68
Với sự bốc hơi nhanh có thể làm cho nhiệt độ bề mặt giảm xuống một cách đột biến, dẫn đến áp lực phản lực cũng giảm mạnh , tạo điều kiện cho một vài vị trí nào đó có nhiệt độ cao xuyên sâu vào kim loại và tạo nên sự bùng nổ kim loại do nhiệt. Lóp kim loại sẽ bị tống ra mãnh liệt khi nhiệt độ đạt giá trị tói hạn.
Phá huỷ bề mặt ở đây có thể hiểu : là giá trị nguồn nhiệt để nhiệt độ bề mặt kim loại đã đạt đến giá trị To nchay T°bh sôi ( để bốc hơi ) ở áp suất bình thường.
Để đạt được nhiệt độ nóng chảy Tncta cố thể tính theo mô hình nung nóng vật bán vô cùng vói nguồn nhiệt có cường độ không đổi.
Nguồn nhiệt cần để đạt được nhiệt độ nóng chảy Tnctheo [6] là :
hop-kim-kho-gia-cong69
hop-kim-kho-gia-cong70
hop-kim-kho-gia-cong71
Trong công nghiệp các thiết bị laser để gia công cắt hay khoan khoét lỗ : chân kính đồng hồ, khuôn kéo từ kim cương, hay các kim loại cứng và đòi hỏi độ chính xác gia công.
Đối với vật liêu phi kim loại :
Vói mật độ nhiệt q > qc (2) thì vật liệu sẽ nóng chảy hoặc bay hơi.
Khi gia công, nhiệt độ trên bề mặt T* phải thoả mãn :
hop-kim-kho-gia-cong72
Khi gia công một phần kim loại lỏng sẽ bị đảy khỏi vệt nung nóng chảy dưới áp lực hơi trong vùng gia công. Một phần lớn vẫn bám lại thành lỗ và kết tinh trên thành và dưới đáy sau tác dụng của xung. Điều này xảy ra do mật độ nhiệt bị phân tán khi chùm tia đi sâu vào trong kim loại. Kết quả làm giảm tốc độ bay hơi.
4.7.2    Sơ đồ quá trình hình thành lỗ khi gia công
hop-kim-kho-gia-cong73
hop-kim-kho-gia-cong74
a/ Khi qo < q min Thì chỉ làm nóng chảy bề mặt kim loại. Đây là quá trình không có ảnh hưởng lớn đến quá trình gia công lỗ hay cắt.
Khi qo >= q min . Bắt đầu quá trình bay hơi. Dưới áp lực hơi bề mặt kim loại lỏng bắt đầu võng xuống . Mật độ nguồn nhiệt càng lớn thì vết lõm càng tăng , sự bay hơi tăng mạnh, tạo nên áp lực lớn để chèn , ép kim loại ra khỏi vùng tác dụng thẳng hướng của chùm tia. Chuyển động của lớp kim loại lỏng này xảy ra một cách từ từ.
b/ Kim loại lỏng còn liên kết với nhau do sức căng bề mặt.
Khi tăng mật độ thì dòng kim loại lỏng bắt đầu chảy rối. một phần giọt kim loại lỏng sẽ bị tách ra khỏi liên kết trên, chuyển động theo dọc thành lỗ kim loại và kết quả là tạo nên khoảng trống trong kim loại.
c/ Với mật độ khoảng 106 – 107 w/cm2 kim loại lỏng không đảy ra hết nên cuối cùng vẫn bị kết tinh lại một lớp trên bề mặt. Thời gian một xung ở đây là ’10-3 sec với chiều dầy kim loại gia công là 0,3 mm.
d/ Khi mật độ nhiệt tăng cao q « 5.107 w/cm2, tốc độ dòng kim loại lỏng chảy rối tăng lên mãnh liệt và hình thành các tia kim loại lỏng bắn ra ngoài và hình thành lỗ hình .
Kết quả nghiên cứu cho thấy :
hop-kim-kho-gia-cong80
hop-kim-kho-gia-cong81
4.7.3    Sơ đồ hình thành mép cắt
hop-kim-kho-gia-cong75
Hình 4-16 Sơ đồ hình thành và dịch chuyển mép cắt [13] 1-       Chùm tia laser
2-       Khí cắt
3-       Vật cắt
4-       Kim loại nóng chảy
5-       Xỷ cắt
4.4       Chế độ cắt một số vật liệu
Bảng 4-7    Chế độ cắt vật liệu phi kim loại bằng laser  – CO2 [6] hop-kim-kho-gia-cong76
hop-kim-kho-gia-cong77
 
 
 
 
 
 
Therefore, it is very important to put in efforts in order to find https://essaydragon.com/ a good teacher.