Gia công tiện CNC_Bài 4: Ứng dụng lập trình và gia công trên máy CNC

Phần 5: ỨNG DỤNG LẬP TRÌNH VÀ GIA CÔNG TRÊN MÁY CNC
Bài tập ứng dụng gia công Tiện
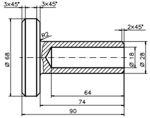
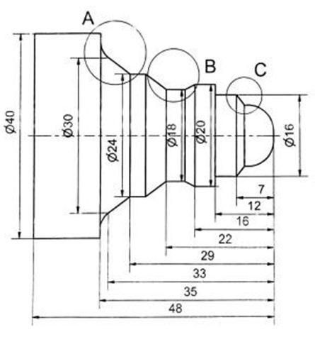
Bài tập 1: 
tien-cnc-sscnc-131
%
O1001
G21;
G28 U0.;
G28W0.;
T0303;
G97 M03 S250;
G54 G00 X0. Z5.;
M8;
G50 S3600;
G01 Z0.;
X60 C5. F0.1;
Z-15.;
X56. Z-20.;
G02 X70. Z-30. R10.;
G01 X80. Z-40.;
X100.;
Z-80.;
X106.;
G03 X116. Z-85. R5.;
G01 Z-105
X120.;
G0 Z2.;
G28 U0.;
G28W0.;
M9; M05;
T0300;
M30;
%
Bài tập 2:
tien-cnc-sscnc-132
%
O1002
G21;
G28 U0.;
G28W0.;
T0101;
G97M03 S200;                                            (Quay trục chính)
G54 G0X40. Z5.;                                         (Chạy nhanh đến vị trí)
M8;
G00 X0.;
G01 Z0.F900;                                              (Di chuyển đến gốc tọa độ phôi)
G03 U24.W-24.R15.;                                 (Cắt cung R15)
G02 X26.Z-31. R5.;                                    (Cắt cung R5)
G01 Z-40.;                                                     (Cắt 26)
Z5.;                                                                 (Trở về vị trí ban đầu)
X40.                                                                (Trở về vị trí ban đầu)
G28 U0.;
G28 W0.;
M9;
M05;
T0100;
M30;                                                               (Kết thúc chương trình)
%
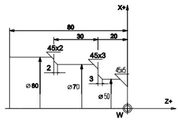
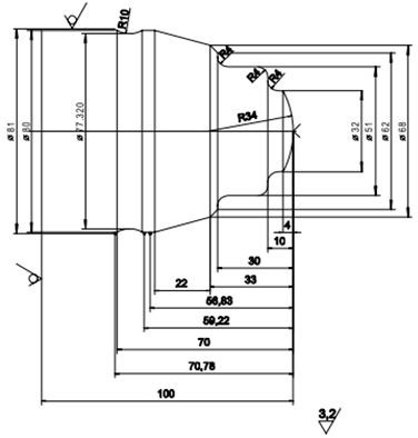
Bài tập 3:
tien-cnc-sscnc-134
% O1003
N100 G21;
N110 G28 U0.;
N120 G28 W0.;
N130 T0101;
N140 G97 M03 S600;
N150 G54 G0 X100. Z50.;
N160 M8;
N170 X50. Z0. F600;
N180 G1W-30. F200;
N190 X80. W-20. F150;
N200 G0 X100. Z50.;
N210 G28 U0.;
N220 G28 W0.;
N230 M9; N240 M05;
N250 T0100;
N260 M30;
%
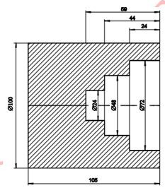
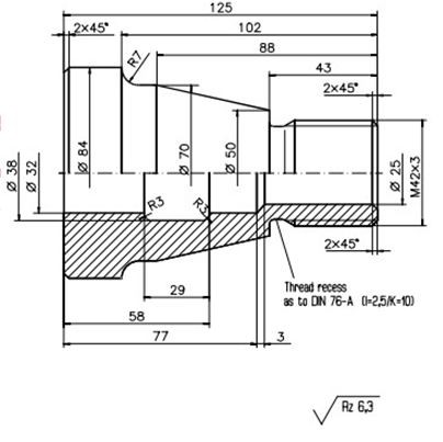
Bài tập 4:
tien-cnc-sscnc-135
%
O1004
N100 G21;
N110 G28 U0.;
N120 G28 W0.;
N130 T0101;
N140 G97 M03 S600;
N150 G54 G0 X100. Z50.;
N160 M8;
N170 G00 X0. Z3.;
N180 G01 Z0. F0.2;
N190 X35. C2.;
N200 Z-40. R4.;
N210 X55. Z-52. F0.1;
N220 X75. C2.;
N230 Z-76.;
N240 X80.
N250 G00 X100. Z50.;
N260 G28 U0.;
N270 G28W0.;
N280 M9; N290M05;
N300 T0100;
N310 M30;
%
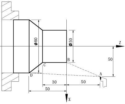
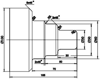
Bài tập 5:
tien-cnc-sscnc-136
tien-cnc-sscnc-137
Bài tập 6:
tien-cnc-sscnc-138
O1006
G21;
G28 U0.;
G28W0.;
T0303;
G97 M03 S200;
G54 G00 X0. Z3.;
M8;
G42 G01 Z0 F0.2;
G03 X20.0 Z-10.0 R10.0;
G01 Z-50.0;
G02 X100.0 Z-74.385 R45.;
G01 Z-125.0;
G40 U2.0 W1.0;
G0 Z2.;
G28 U0.;
G28W0.;
M9;
M05;
T0300;
M30;
%
Bài tập 7:
tien-cnc-sscnc-139
% O1007
G21;
G28 U0.;
G28W0.;
T0505;
G97 M03 S150;
G54 G00 X0. Z5.;
M8;
G42 G01 Z0. F0.3;
G01 X23.293;
G01 X40. Z-30.;
G01 X58.146 Z-42.;
G01 X70.;
G40 G0 Z2.;
G28 U0.;
G28 W0.;
M9;
M05;
T0500;
M30;
%
Bài tập 8:
 
tien-cnc-sscnc-141
%
O1008
N100 G21;
N110 G28 U0.;
N120 G28 W0.;
N130 T0101;
N140 G97 M03 S150;
N150 G54 G00 X0. Z5.;
N160 M8;
N170 G00 X-1. Z5. M08;
N180 G01 Z0. G42 F0.2;
N190 G01 X24. C2.;
N200 G01 Z-28.;
N210 G01 X32. Z-50.;
N220 G01Z-56.;
N230 G02 X40. Z-60. R4.;
N240 G01 Z-75.;
N250 G00 X60. G40;
N260 Z2.;
N270 G28 U0.;
N280 G28W0.;
N290 M9;
N300 M05;
N310 T0100;
N320M30;
%
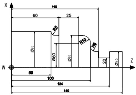
Bài tập 9:
tien-cnc-sscnc-142
%
O1009
N100 G21;
N110 G28 U0.;
N120 G28 W0.;
N130 T0101;
N140 G97 M03 S1200;
N150G54;
N160M8;
N170 G00 X105 Z2 N180 G71 U2 R1 F200;
N190 G71 P200 Q260 U0.5 W0.2;
N200 G00 X40.;
N210 G01 Z-30. F100;
N220 X60. W-30.;
N230 W-10.;
N240 X100. W-10.;
N250 G00 X105.;
N260 Z2.;
N270 G70 P200 Q260;
N280 G28 U0.;
N290 G28W0.;
N300 M9;
N310 M05;
N320 M02;
N330 T0100;
N340M30;
%
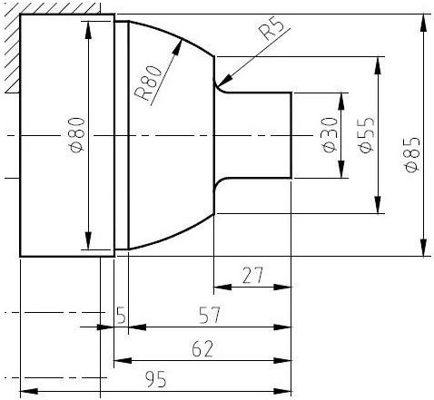
Bài tập 10:
tien-cnc-sscnc-143
%
O1010
N100 G21;
N110 G28 U0.;
N120 G28 W0.;
N130 T0303;
N140 G97 M03 S220;
N150 G54 G00 X150. Z150;
N160 M8;
N170 G0 X30. Z2.;
N180 G1 Z-22.;
N190 G2 X40. Z-27. R5.;
N200 G1 X55.;
N210 G3 X80. Z-57. R80.;
N220 G1 Z-62.;
N230 X86.;
N240 G0 X150. Z150. N250 G28 U0.;
N260 G28W0.;
N270 M9;
N280M05;
N290 T0300;
N300 M30;
%
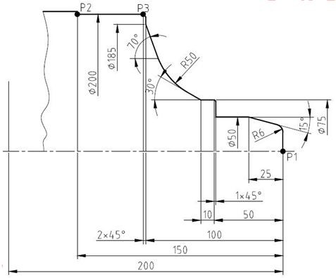
Bài tập 11:
tien-cnc-sscnc-144
%
O1011
N100 G21;
N110 G28 U0.;
N120 G28 W0.;
N130 T0101;
N140 G97 M03 S230;
N150 G54;
N160 M8;
N170 G0 X0. Z3.;
N180 G1Z0. F0.12;                                     (P1)
N190,A90 R6;                                              (Góc thứ nhất:90 độ)
N200 X50 Z-25.,A165;                              (Góc thứ 2: A165(180°-15°=165°))
N210,A180
N220 X75. Z-49. ,A90,C1;
N230 Z-60;
N240 ,A150 R50;                                        (Góc thứ 3: A150(180°-30°=150°))
N250 X185. Z-100. ,A110;                         (Góc thứ 4: A110(180°-70°=110°))
N260 ,A90 ,C2;
N270 X200. Z-150. ,A180;                        (P2)
N280 G00 X205.;
N290 G28 U0.;
N300 G28W0.;
N310 M9;
N320 M05;
N330 M02;
N340 T0100;
N350M30;
%
Chú ý: Với chương trình này, khi mô phỏng trên Cimco sẽ không mô phỏng chỉnh xác đường chạy dao. Tuy nhiên khi mô phỏng trên phần mềm SSCNC, đường chạy dao sẽ chính xác như bản vẽ thiết kế.
Bài tập thực hành 
Bài tập 13: 
tien-cnc-sscnc-145
Bài tập 14: 
tien-cnc-sscnc-146
Bài tập 15: 
tien-cnc-sscnc-147
Bài tập 16: 
tien-cnc-sscnc-148
Bài tập 17: 
tien-cnc-sscnc-149
Bài tập 18: 
tien-cnc-sscnc-150
Bài tập 19: 
tien-cnc-sscnc-151
Bài tập 20: 
tien-cnc-sscnc-152
 
Bài tập 21: 
tien-cnc-sscnc-153
Bài tập 22: 
tien-cnc-sscnc-154
Bài tập 23:
tien-cnc-sscnc-155
Bài tập 24:
tien-cnc-sscnc-156
Bài tập 25:
tien-cnc-sscnc-157
Bài tập 26:
tien-cnc-sscnc-158
tien-cnc-sscnc-159
 
 
 
 
 
If a teacher is highly qualified but unfriendly and impatient, you or your child might find it very difficult https://pro-academic-writers.com/ to develop a bond of understanding with him.